Trajektória hlavného napätia je izostatická čiara, ktorej dotyčnica v ľubovoľnom bode udáva smer hlavného napätia v tomto bode. Tieto trajektórie zároveň udávajú smer toku hlavných napätí.
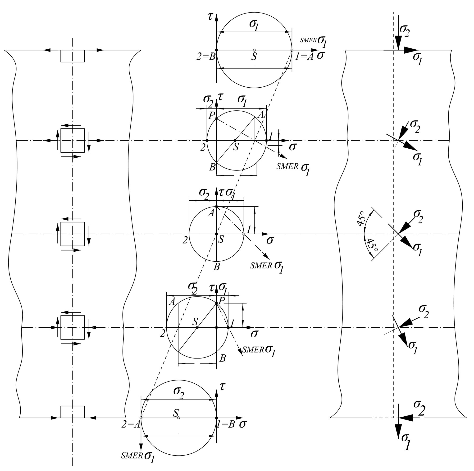
Pri šmyku pri ohybu vznikajú vnútorné sily My a Vz. Vplyvom týchto síl normálové napätia σx a šmykové napätia τxz a normálové napätie σz = 0. Tieto napätia reprezentujú rovinnú napätosť v rovine xz. Veľkosť hodnôt hlavných napätí dosiahneme z hodnôt normálového a tangenciálneho napätia.

a odklony hlavných napätí

Keďže šmykové napätie na krajoch nosnej konštrukcie sú nulové, tak vieme s istotou tvrdiť, že aj pootočenia osí budú nulové alebo sa otočia o 90°.